
2021年度黄山市工程系列中、初级专业技术资格评审结果公示(第一批)
日期:2021-10-21
浏览次数:392
视力保护色:
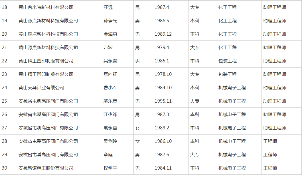
经评委会评审胡国利等30位同志通过工程系列中(初)级专业技术资格评审,现予以公示,公示时间:2021年10月19日—2021年10月25日。在公示期间,如对通过人员有异议的,请及时反映。
监督联系电话:2355861、2355342。
监督联系电话:2355861、2355342。
附件:2021年度黄山市工程系列中(初)级专业技术资格通过人员名单
黄山市经济和信息化局
2021年10月19日

| 黄山求卓国家中小企业公共服务平台 版权所有
皖ICP备19008560号-1
|


